|
Наименование параметров |
Показатель |
|
Материал |
сталь, чугун |
|
Давление |
10 кгс/см2 (1,0 МПа) |
|
Рабочая среда |
пресная вода |
|
Температура рабочей среды |
до 100° С |
|
Присоединение |
фланцевое - присоединительные размеры по ГОСТ 12815-80 |

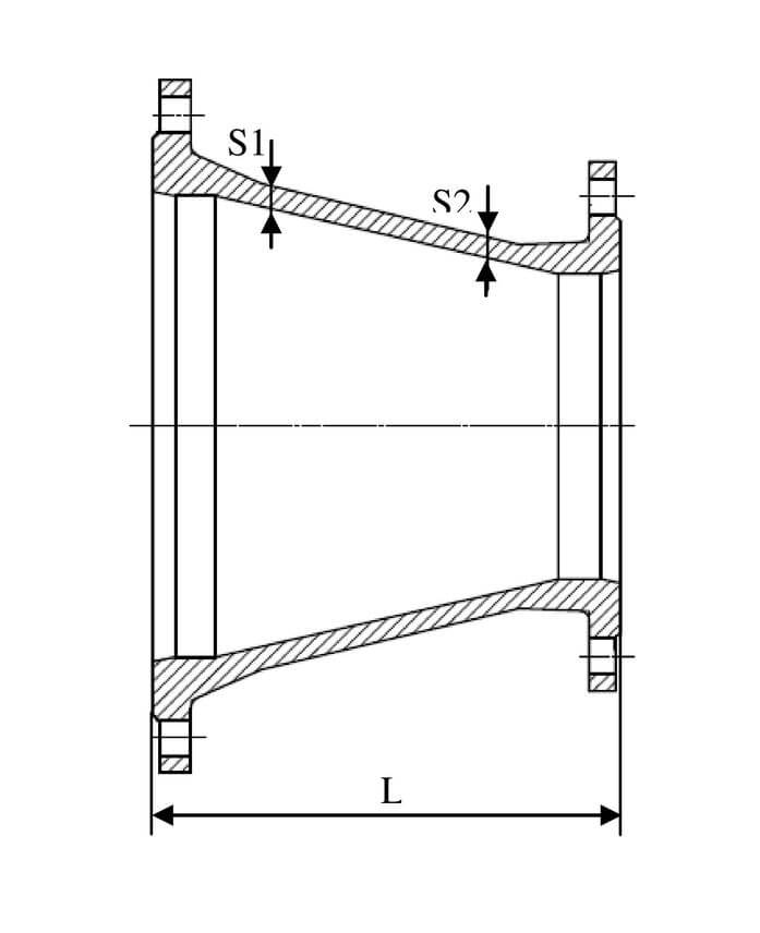
| Переход фланцевый (ISO) | |||
| DN | S1 | S2 | L |
| 100х80 | 7,2 | 7,0 | 200 |
| 125х100 | 7,5 | 7,2 | 200 |
| 150х125 | 7,8 | 7,5 | 200 |
| 200х150 | 8,4 | 7,8 | 300 |
| 250х200 | 9,0 | 8,4 | 300 |
| 300х250 | 9,6 | 9,0 | 300 |
| 350х300 | 10,2 | 9,6 | 300 |
| 400х350 | 10,8 | 10,2 | 300 |
| 500х400 | 2,0 | 10,8 | 300 |
| 600х500 | 13,2 | 12,0 | 600 |
| 700х600 | 14,4 | 13,2 | 600 |
| 800х700 | 15,6 | 14,4 | 600 |
| 900х800 | 16,8 | 15,6 | 600 |
| 100х900 | 18,0 | 16,8 | 600 |
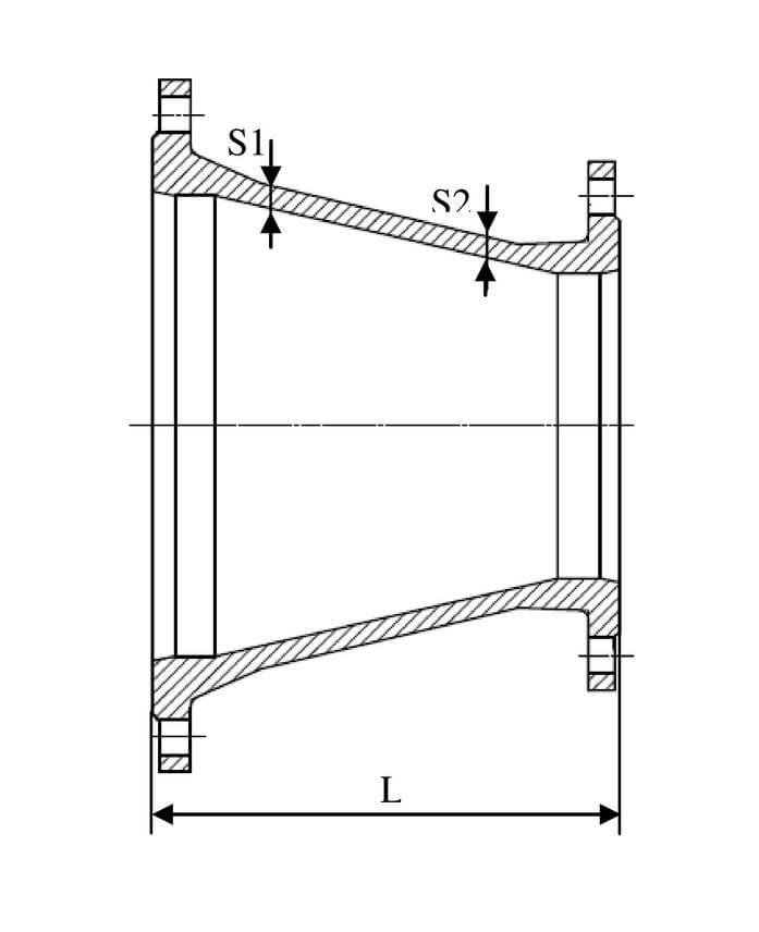
| Переход фланцевый ГОСТ | |||
| DN | S1 | S2 | L |
| 100х80 | 7,2 | 7,0 | 200 |
| 125х80 | 7,5 | 7,0 | 250 |
| 125х100 | 7,5 | 7,2 | 200 |
| 150х80 | 7,8 | 7,0 | 300 |
| 150х100 | 7,8 | 7,2 | 250 |
| 150х125 | 7,8 | 7,5 | 200 |
| 200х80 | 8,4 | 7,0 | 400 |
| 200х100 | 8,4 | 7,2 | 350 |
| 200х125 | 8,4 | 7,5 | 300 |
| 200х150 | 8,4 | 7,8 | 250 |
| 250x100 | 9,0 | 7,2 | 450 |
| 250x150 | 9,0 | 7,8 | 350 |
| 250x200 | 9,0 | 8,4 | 250 |
| 300x125 | 9,6 | 7,0 | 500 |
| 300x150 | 9,6 | 7,8 | 450 |
| 300x200 | 9,6 | 8,4 | 350 |
| 300x250 | 9,6 | 9,0 | 250 |
| 350x300 | 10,2 | 9,6 | 250 |
| 400x350 | 10,8 | 10,2 | 250 |
| 500x400 | 12,0 | 10,8 | 350 |
| 600x500 | 13,2 | 12,0 | 350 |
| 700x600 | 14,4 | 13,2 | 350 |
| 800x700 | 15,6 | 14,4 | 350 |
| 900x800 | 16,8 | 15,6 | 350 |
| 1000x900 | 18,0 | 16,8 | 350 |
99.75 руб.
Фланец стальной плоский ГОСТ 12820-80 Ду 400 Ру 16
174 руб.
Фланец стальной плоский ГОСТ 12820-80 Ду 500 Ру 16
5.82 руб.
Фланец стальной плоский ГОСТ 12820-80 Ду 50 Ру 10